Quickie Ghost, updates, revisions & comments
-
- Posts: 716
- Joined: 16 Feb 2018, 06:19
- Location: Varberg or Stockholm, Sweden
Quickie Ghost, updates, revisions & comments
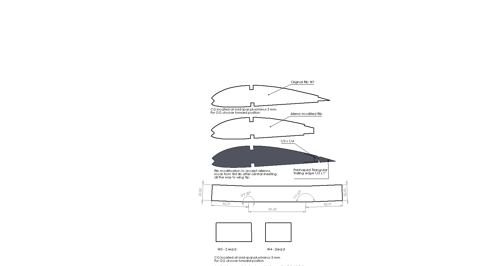
Aileron add on and CG information
- Attachments
-
- Aileron Mods.PDF
- (31.66 KiB) Downloaded 338 times
Cheers,
Tobe
Tobe
-
- Posts: 716
- Joined: 16 Feb 2018, 06:19
- Location: Varberg or Stockholm, Sweden
Re: Quickie Ghost, updates, revisions & comments
Concerning the spares, ribs and sheeting of the central section of the wing.
The top and bottom spars are different, the sheeting on the bottom of the C/S will need to butt up to the spar, not go over it.
It needs the top spar slot lifting up on both R1 and R2, then indicate that the sheeting butts against the sides of the spars, not going over them.
The top and bottom spars are different, the sheeting on the bottom of the C/S will need to butt up to the spar, not go over it.
It needs the top spar slot lifting up on both R1 and R2, then indicate that the sheeting butts against the sides of the spars, not going over them.
- Attachments
-
- Spares & sheeting.JPG (14.03 KiB) Viewed 9803 times
Cheers,
Tobe
Tobe