Frequency Hopping experiments on the NRF24 & full tx/rx

Any old or new electronic projects on the go
Post Reply
AndyS
Posts: 49
Joined: 12 Oct 2018, 19:03
Location: Biggleswade

Re: Frequency hopping experiments on the NRF24

Post by AndyS »

Just to report that I have 100uf and 100nf capacitors in parallel on my 3v power inputs to NRF24 modules and all are now working perfectly, even the one with a power amp and antenna that did not work before. :D
User avatar
Phil_G
Posts: 784
Joined: 15 Feb 2018, 23:32
Contact:

Re: Frequency hopping experiments on the NRF24

Post by Phil_G »

Well done Andy, perseverance pays off.
They really are intolerant of a less-than-perfect power supply. I've found powering the 3v3 regulator on the transmit module directly from the switched battery is a good start, and everything has the 100µF + 100n mounted on the 3v3 pins. Reading back on some quite old NRF projects on the web, I see the need for extra decoupling caps was established back then, I should have read up first and saved some time!

Next I want to try replacing the RF-Nano receiver PCB aerial with a dipole, and range testing. The range as standard is plenty, but the larger profile of a dipole might be better where the receiver is occasionally shadowed by a battery or motor. Also I want to try one of the "+PA+LNA" transmit modules as a receiver, just for a comparison. I might attempt a receiver with two NRF boards for diversity. Maybe... :D

I made a couple more 8mhz/3v3 Promini+NRF receivers yesterday as I'd run out of RF-Nanos, not sure which I prefer - the made-up ones are free cos Tobe sent kindly donated some NRFs and Prominis!

Yesterday I converted both mine & Roo's model car 'pistol' radios from the hybrid semi-hopping setup to the fhss code, and today as a test I collected all my working transmitters of various makes, FASST, Frsky, Flysky, Orange, Spektrum, NRF, etc, switched them all on and spread them around my shed, all 23 of them :D then in this RF custard, played Scalextric with one of the model car pistol radios. Perfect throughout :D

Later, with the updated radios, we were playing with the model car, and the replacement brushed motor and ESC combo was a mistake - its s l o w. The last motor was a 16 triple which was fast but cruel to the ESC and burnt the fets twice, so I went for a 20t single - too extreme a change :(
I'm out of my depth with car motors, maybe an 18 double?

So far I've done the two pistol-grip car radios, the OS Cougar, MPX Pico, OS Pixie mk2, and the micro tx, plus a cardboard-box test tx, and a couple of uncased but working sets, one propo & one S/C. Nine NRF sets is enough :D

-----------------------------------------------------oooOOOooo -----------------------------------------------------

OK heres a receiver made with the "+PA+LNA" module that so far we've been using for the transmitter.
I've removed the SMA connector and soldered two 33mm whiskers, which with the LNA I want to compare against the PCB aerial. Works great on the bench but no range tests tonight, its raining pissinstently :D


SMA connector and headers removed...
SMA connector and headers removed...

...took some removing!
...took some removing!

Underside is the ground plane
Underside is the ground plane

3v3 8mhz promini
3v3 8mhz promini

Finished receiver... or so I thought...<br />...forgot the capacitors!
Finished receiver... or so I thought...
...forgot the capacitors!


I've rearranged the layout of the boards since taking the photos above, with the NRF groundplane between the boards so they're screened from each other. Minimum-power range tests seem 'at least normal', possibly better, hard to tell in the rain! One of my test transmitters has the bare NRF24 (no PA) and its set to the 'low' power setting (-12dbm or 1/16th of a milliwatt) and with that tx I'm getting about 30 metres in the rain :D In theory, at 100mW thats approaching a km, which is about what the spec claims. When it stops raining I'll do a proper full power range test. It might be interesting to also test a dipole on an RF-Nano... range hasnt been a a concern but I would like the tiny rx aerial to have a bit more 'presence'.

If you recall, the largest open space I could find to range-test the set was 700m and it was absolutely solid at that distance, with more space it would have gone much further. To put 700m in context, heres what it looks like at Ponty Park, note the size of the strip :D


700 metre radius of PANDAS strip
700 metre radius of PANDAS strip


Cheers
Phil
User avatar
Mike_K
Posts: 776
Joined: 16 Feb 2018, 06:35
Location: Hertfordshire

Re: Frequency hopping experiments on the NRF24

Post by Mike_K »

Phil_G wrote: 05 Jul 2020, 17:42
Later, with the updated radios, we were playing with the model car, and the replacement brushed motor and ESC combo was a mistake - its s l o w. The last motor was a 16 triple which was fast but cruel to the ESC and burnt the fets twice, so I went for a 20t single - too extreme a change :(
I'm out of my depth with car motors, maybe an 18 double?
Hi Phil

In the days I used to race 1/10th off-road buggies, we would always change the gear ratio for different motors, the milder the wind the higher the gear ratio. A 20t single would be slower, but not night and day slower if you get the ratio's right. You need a way higher ratio when changing between those motors (similar to increasing the prop size/pitch when you fit a lower kV motor). If you can't change the ratio's then something in-between would probably suffice. Or fit a higher rated ESC. I'll have a look to see if I still have any of my old Tekin or Mtronic ESC, I think I gave most away, but there may be something left. They would be non-reversing, if you crash, you need a marshal, but I doubt you'd ever burn them out! What cells are you running them on?

Mike
User avatar
Wayne_H
Posts: 830
Joined: 17 Feb 2018, 05:26
Location: Temora, NSW. Australia
Contact:

Re: Frequency hopping experiments on the NRF24

Post by Wayne_H »

Finished receiver... or so I thought...
...forgot the capacitors!


Don't ya just love that? ....... uuuuggh!! :shock: :oops: :lol:
Cheers,

Wayne
Once a Retrobate, always a Retrobate............ ;)
User avatar
Shaun
Posts: 1254
Joined: 15 Feb 2018, 21:49
Location: West Yorkshire

Re: Frequency hopping experiments on the NRF24

Post by Shaun »

Did you know that American actress Hedy Lemarr invented frequency hopping. She was working on a system to stop radio guided torpedo's from bring jammed.
Beauty and bains eh!

Shaun.
User avatar
Phil_G
Posts: 784
Joined: 15 Feb 2018, 23:32
Contact:

Re: Frequency hopping experiments on the NRF24

Post by Phil_G »

Shaun wrote: 06 Jul 2020, 09:52Did you know that American actress Hedy Lemarr invented frequency hopping.
A myth perpetuated mostly by R/C enthusiasts :D
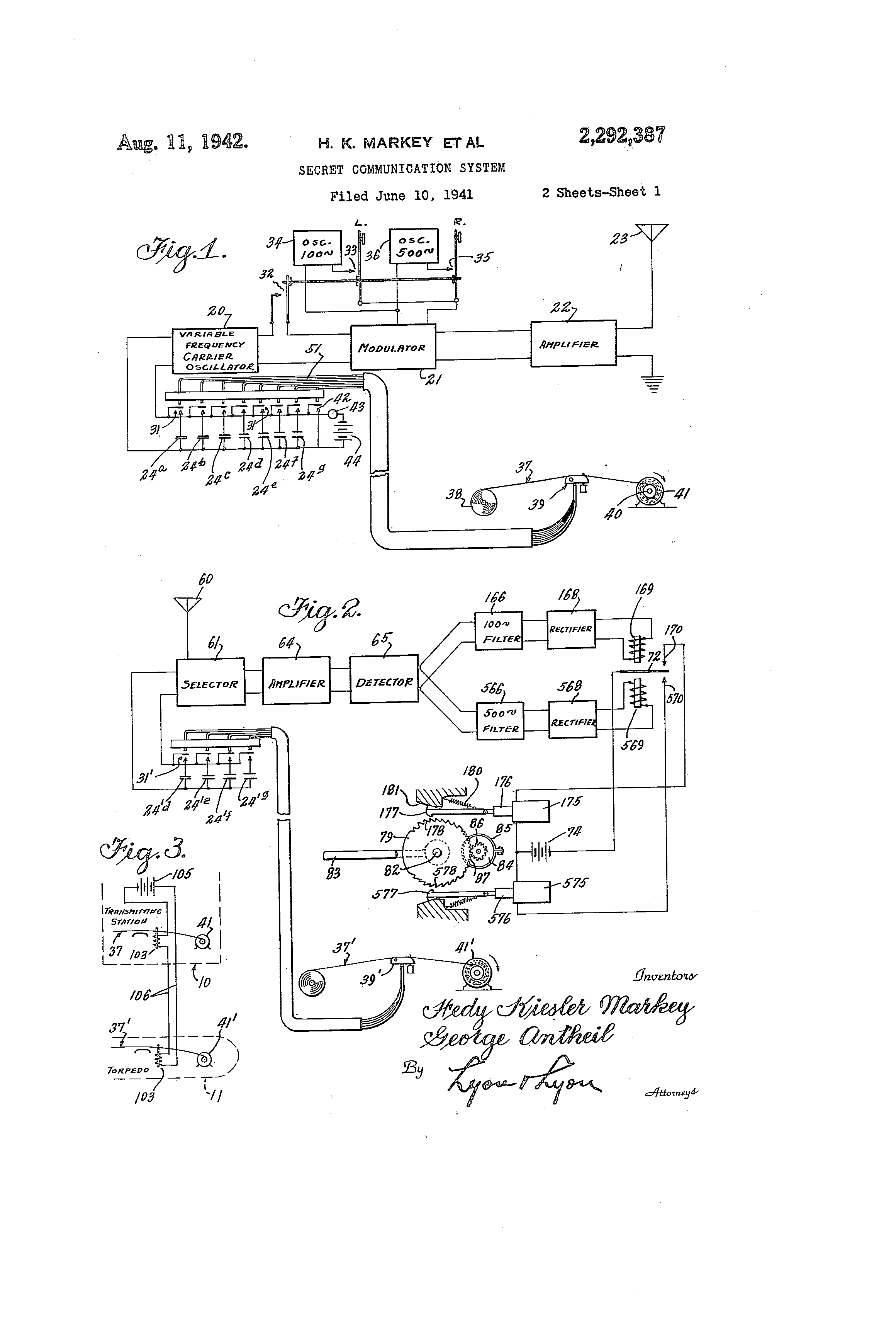
Truth is that both Marconi and Tesla beat her by 4o years :D and Germany used basic frequency hopping radio during WW1. And heres Willem Broertjes patent US1869659 from 1929 - switching frequency-determining capacitors into a tuned circuit in real time:

Image

There were several methods of keeping two distant distributors in perfect sync, telephone exchanges relied on it ;)

I'm a big believer in credit where its due, and the Lamarr/Antheil patent did include one of many methods of achieving frequency hopping (paper tape driving switched capacitors) but they absolutely did not invent it, there are several prior patents. The first I'm aware of is Nikola Tesla who described a method of discharging different value condensers into a resonant coil at periodically-recurring intervals via a rotating wheel in his 1903 patent US723188... he didnt use the phrase "frequency hopping" but the concept is there in 1903 ;) Radio systems that distributed a signal around a number of frequencies over time were in use during WW1. The claim that Lemarr/Antheil "invented frequency hopping" and that "we wouldnt have Bluetooth or Wifi if not for her" is one of those 'perpetuated myths' :D

Their 1941 patent was a combination of frequency hopping radio (which is one form of spread spectrum) and an associated escapement system for the remote control of a torpedo rudder. The modulation was what we would loosely call 'reeds' - simple amplitude modulation with a 100hz tone for left, or a 500hz tone for right - with tuned filters at the receiver. Essentially the simple frequency hopping element is almost identical to Willem Broertjes 1929 patent, as you can see from the scan above, switching different capacitors into a tuned circuit in sequence. The Lamarr/Antheil contribution was the application of this existing concept to secretly and securely guide a torpedo ;)
It was never implemented.


US2292387-drawings-page-1.png
User avatar
Shaun
Posts: 1254
Joined: 15 Feb 2018, 21:49
Location: West Yorkshire

Re: Frequency hopping experiments on the NRF24

Post by Shaun »

But nobody at Marconi or Tesla were as good looking and
Tesla only alluded to it. She got the patent! :)
User avatar
Mike_K
Posts: 776
Joined: 16 Feb 2018, 06:35
Location: Hertfordshire

Re: Frequency hopping experiments on the NRF24

Post by Mike_K »

Shaun wrote: 06 Jul 2020, 09:52 Did you know that American actress Hedy Lemarr invented frequency hopping. She was working on a system to stop radio guided torpedo's from bring jammed.
Beauty and bains eh!

Shaun.
Yes frequency hopping was quite old technology by the 1940s. What she did was to combine frequency hopping AND spread spectrum. Where have I heard them two being used together?

Mike
MaxZ
Posts: 336
Joined: 31 Jan 2019, 11:48
Location: Boskoop, Netherlands

Re: Frequency hopping experiments on the NRF24

Post by MaxZ »

Right, here is the report of my first trials with the NRF24 hopper I built.

To begin with: it works! It took me some time to realize that the order of the output channels was different to the channel order as programmed in the tx (yes Phil, you mentioned it) TAER vs. AERT.

Two things worry me. I built Martin's little spectrum analyzer, and it does show that the tx is firing on all cilinders, but the picture is not steady:
DSC04057.JPG
DSC04058.JPG
DSC04059.JPG
DSC04061.JPG
The other thing is that the led on the rx is supposed to flash at 10 Hz, mine is doing about 3-4 Hz with the odd irregular flash. I did add the capacitors to the 3v3 supply of the RF module in the tx, be-it a 100n and a 22 microF that I could scrounge from my cousin's stock. Should I increase on the 22 uF?

I did an earlier test with the rx, and the servo I connected acted quite erratically, but after I added a set of capacitors to the supply the servo I connected alternating to the Aileron and Elevator outputs seems to work fine, even my added digital trim and sweep features work as intended.

I did a sort of "range test" (well.....) by leaving the tx in sweep mode in my workshop on the second floor, and the rx still performed in the living room on the ground floor, transmitting through two reinforced (I think) concrete floors.

The sketches I used were personalised versions based on Phil's earlier versions:

Code: Select all

Enc_v5_nrf24_250k_5ms_fhss_tx
and

Code: Select all

Enc_v5_nrf24_250k_5ms_fhss_led_rx
for the transmitter and receiver respectively.

Cheers,
Max.
MaxZ
Posts: 336
Joined: 31 Jan 2019, 11:48
Location: Boskoop, Netherlands

Re: Frequency hopping experiments on the NRF24

Post by MaxZ »

Phil_G wrote: 09 Jul 2020, 15:21 Do you have the 3v3 caps at the transmitter module power pins?
yes
Phil_G wrote: 09 Jul 2020, 15:21and the 3v3 reg fed from switched battery?
no, should I? (Edit, yes I did, I just misunderstood the question.)
Phil_G wrote: 09 Jul 2020, 15:21It may be swamping - try shrouding the tx aerial with your hand, see if the rx led changes.
I will test that, but it still showed the same two floors down from the tx......


Shielding the Tx aerial did not seem to make a difference, even unscrewing it did not until I put a wall in between, but then it went into failsafe mode.

I connected one of the rx outputs to your pulse analyzer, even though there is no ppm stream it does show a frame rate, which is more or less stable at 20 ms. Does that tell anything?

And yes, I routed the battery connections directly to the module regulator, from there to the nano GND and 5V.

I used a single 18650 cell if that is of any consequence.
Last edited by MaxZ on 09 Jul 2020, 18:12, edited 1 time in total.
Post Reply